
1、流體阻力小 , 密封面受介質的忡刷和侵蝕小。 2、開閉較省力。 3、介質流向不受限制 , 不擾流、不降低壓力。 4、形體簡單 , 結構長度短,制造工藝性好,適用范圍廣。 三,閘閥的缺點如下: 1、密封面之間易引起沖蝕和擦傷,維修比較困難。 2、外形尺寸較大,開啟需要一定的空間,開閉時間長。 3、結構較復雜。 閘闊的種類 ,按密封面配置可分為楔式閘板式閘閥和平行閘板式閘閥 , 楔式閘板式閘閥又可 分為 : 單閘極式、雙閘板式和彈性閘板式;平行閘板式閘閥可分為單閘板式和雙閘板式。按閥桿的螺紋位置劃分,可分為明桿閘閥和暗桿閘閥兩種。


聲明:
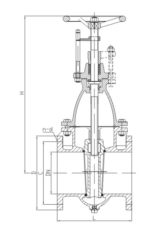
本文中所有文字、數據、圖片均只適用于參考。需要查看更多的船用不銹鋼閘閥CB/T3955-2004性能參數、結構尺寸參數、價格等詳情,或要求高質量印刷樣本,請聯系我們。
· 電話:18717746989
· 郵箱:sales@shczvalve.com
承質訂貨須知:
一、A:產品名稱、型號、公稱通徑B:介質及溫度、壓力范圍C:是否有附件、交貨期、特殊要求等以便我們的為您正確選型。
二、若已經由設計單位選定我公司的閥門型號,請您根據閥門參數直接與我們銷售中心訂購。
三、當您使用的場合非常重要或環境比較復雜時,請您提供設計圖紙和詳細參數,我們的工程師專家會為您審核與分析。我們可以為您提供解決方案,包括設計、定做、成套、運行、服務。我們一直致力于閥門行業領域,為您提供船用閥門知識、服務、技術顧問。
感謝您訪問我們的網站【m.jiningyiqi.com】,如有任何疑問,您可以致電給我們,我們一定會盡心盡力為您提供服務。本廠提供船用蝶閥、船用閘閥、船用止回閥、船用調節閥、船用減壓閥、船用呼吸閥、高速透氣閥、船用快關閥、船用自閉閥、船用旋塞閥、船用消防閥、船用通海閥、船用防浪閥、船用濾器、船用空氣帽、船用球閥、船用截止閥、船用截止止回閥、船用閥組、船用截止閥箱、船用針型閥、船用電磁閥、船用隔膜閥、船用壓力表閥等各類船用閥門,不銹鋼閥門。